企業所得稅匯算清繳,也是年度企業所得稅申報。也稱“稅務年報”,企業每年的5月底前,完成的稅務申報。(把公司上年收入 成本 利潤進行整理,自行計算全年的利潤和最后需要繳的稅(應納稅所得稅和應納所得稅額),根據季度預繳所得稅的稅額,進行多退少補,匯算清繳。這也是對上一年度數據的總結。
我們在申報的時候,如果能提供第三方事務所出具的鑒定報告(稅審報告和審計報告),通過第三方自查后我們再申報,可以轉嫁風險,也更有權威性。
企業所得稅的申報方式具體流程是怎樣的?
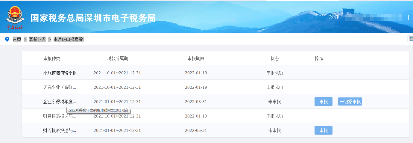
1、進入電子稅務局首頁>套餐業務>本月應申報套餐-企業所得稅年度納稅申報A類表(2017版)進行申報

2、 基礎信息填報
首先填報A000000《企業所得稅年度納稅申報基礎信息表》,完成填報后點擊【下一步】進入《企業所得稅年度納稅申報表填報表單》界面。

3、勾選表單

在《企業所得稅年度納稅申報表填報表單》界面,系統會根據基礎信息表的填報信息,默認勾選必填表格;同時,您可根據需要自行補充勾選其他選填表單,表單勾選完成后,點擊【下一步】進入主附表填寫界面。
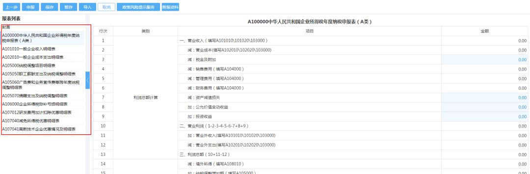
4、填寫主附表單

在主附表填寫界面,屏幕左側為已勾選需要填報的表單列表,右側為對應表單格式,您可通過點擊左側列表中的表單名稱,切換到需要填寫的表單格式,切換表單時無需逐個表單保存,同時表單之間有勾稽關系的數據會自動關聯帶入;
為保證申報的準確性,填寫表單時,所有表單無論是否填寫數據,都需要逐一打開查看,否則不能完成申報。
5、增減表單

如果您填寫過程中發現需要新增或刪除表單,或則需要修改A000000《企業所得稅年度納稅申報基礎信息表》的數據,可點擊【上一步】返回做相應修改;處理后再回到主附表填寫界面,已填報的數據不會丟失。
6、保存表單

如果您需要分次填報表單,在退出申報功能前可使用【暫存】或【保存】功能。
【暫存】功能是保存當前填寫的數據,但不做相應的邏輯校驗;【保存】功能是先對表格填寫內容進行邏輯校驗,邏輯校驗無誤后保存數據。
【暫存】或【保存】數據后,在下次進入申報功能時,系統會提示您是否需要還原上次填報數據,您選擇【確定】,即可讀取上次保存數據繼續填報,選擇【取消】,則重新填寫。
7、導入表單

本次升級上線了申報表導入功能,使用該功能,您可先下載申報表模板,在線下完成數據填寫,然后再登陸電子稅務局導入已填寫的模板完成申報。具體操作如下:
點擊【導入】, 系統會提示您本次已勾選的表單
點擊確定后,進入導入界面,您可先下載導入模板,模板為EXCEL格式的申報表,模板表單包含全部申報表的表單,您填報時選擇已勾選的表單填寫即可(未勾選的表單,即使填報數據也不會導入申報系統),填寫完成后,點擊【導入數據】完成導入。
需要注意:如果您之前已填報了表單數據,導入后會先清空之前的表單數據,以本次導入數據為準。
導入完成后,仍回到表單填寫界面,您可繼續對填報數據進行修改。
8、政策風險提示服務

表單全部填寫完成后,在申報前您可先點擊【政策風險提示服務】功能掃描本次申報數據的風險點;該功能您自行選擇是否使用;
點擊【政策風險查詢】;
然后點擊【獲取反饋】和【查看詳情】,系統將展示風險指標詳情;
您對系統反饋的風險問題進行確認,若經核實不屬于錯誤數據的可不予理會,關閉后直接辦理申報;若確實存在問題的,先對申報數據進行修改,然后可再次使用本功能對修改后的數據進行風險掃描,直至確認問題處理完畢后再進行申報。
9、申報表單

表單填寫完成后,點擊【申報】,如果有系統監控信息,請按照監控信息的指引完成數據修改;
點擊【修改】,系統會自動跳轉到對應表單。
10、年度匯算清繳退抵稅

申報成功后,如果您存在企業所得稅匯算清繳多繳稅款,系統會提示您辦理退(抵)稅申請,您點擊【辦理】后,系統跳轉到匯算清繳退(抵)稅申請功能,并自動幫助您完成退(抵)稅申請表填寫,您確認無誤后提交文書即完成申請。

辦理結果可在電子稅務局【我要查詢】-【辦稅進度及結果信息查詢】-【網上申請文書結果查詢及領取】中查詢。

以上是簡單的申報流程
免費注冊公司,全程代辦,一站式服務
200人專業團隊,1天出執照,7天辦結
上百位資深專家顧問一對一服務
資料不外泄安全保密
? 2016 http://www.wl-cz.com 版權所有:深圳市恒誠信企業管理有限公司 備案號:粵ICP備13031536號
鄭重申明:未經授權禁止轉載、摘編、復制或建立鏡像,如有違反,必將追究法律責任 恒誠信常年法律顧問:廣東尚圖律師事務所